慧聪LED屏网报道
一、 背景介绍:石墨盘盘生逆转,龙套变主演
2017年即将过去,这一年的LED产业大戏不断,好剧连台。
不过在这样的背景下,一个曾经毫不起眼的龙套角色,硬是盖过了几百亿大手笔产业投资的风头(三安在泉州333亿投资项目市场完全波澜不惊),在这一年跨进舞台中央,搅起两家A股公司股价异动,过足了戏精的瘾。
这主角是谁呢?正是本文所要探讨的石墨盘。

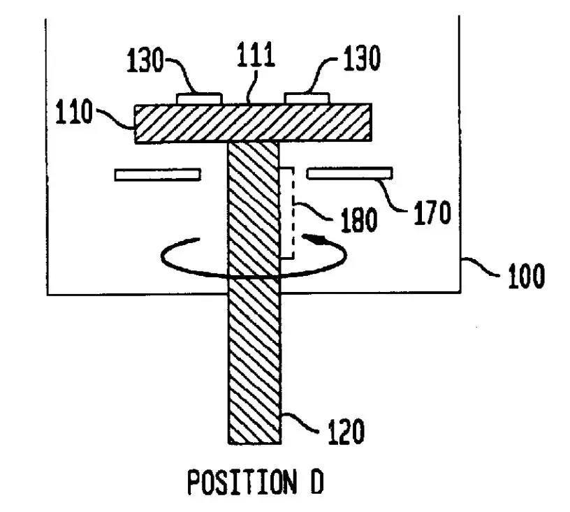
图片来源:SGL GROUP
石墨盘是MOCVD反应设备中必不可少的一项易耗零件,石墨盘的表面SiC涂层品质对于确保LED芯片的质量和一致性有着非常关键的影响。SiC涂层要和所挑选的石墨具备均一的热导率,高温生产时才不会出现严重的形变。高度精密加工水平和涂层的均匀性确保了外延片载盘片坑表面的光滑度和平整性。这些都直接影响到外延片的晶体质量。
因此对芯片厂家来说,高质量的石墨盘是不可或缺的生产耗材,每个MOCVD腔生产150炉左右就得及时更换新的石墨盘,保证MOCVD反应炉处在最佳工作状态。但是即便如此重要,此前行业内很少会注意到这个非常不起眼的设备零件。
真正令石墨盘走上台前,受到行业普遍关注的,是Veeco对SGL的一纸诉状。
二、 锁喉战略:Veeco状告中微得遂所愿
Veeco在2017年4月12日控告了石墨托盘制造商SGL侵权,主张SGL侵犯了Veeco拥有的四项专利(US6506252B2,US6685774B2,US6726769B2等,专利宣告范围涵盖了MOCVD设备的主体结构和托盘的全面设计保护),Veeco要求SGL停止销售侵权的托盘,并赔偿巨额损失。
而到11月2日,美国纽约东区地方法院同意了Veeco公司针对SGL Carbon,LLC(SGL)的一项初步禁令请求,该禁令禁止SGL出售供采用了Veeco专利技术的无基座金属有机化学气相沉积系统(MOCVD)使用的晶圆承载器,包括专为AMEC MOCVD系统设计的晶圆承载器。
这对中微来说虽然没有造成直接的损失,但是间接造成非常不利的影响。采购了中微的MOCVD机台的客户很快就面临没有石墨盘可用的困境,一旦被迫停产,势必造成重大的经济损失。对中微来说必须要解决自家设备零件稳定供应问题,这是采购了公司设备客户的基本承诺和服务,否则也会有索赔和退货求偿的风险。原来准备继续采购中微MOCVD设备的厂商也会因为石墨盘供应的不稳定而产生动摇和观望心态。
通过正面市场竞争Veeco面临中微的巨大压力,由于性能及效率方面中微的MOCVD已经获得了三安华灿的认可,开始大量的订购并投入使用。中微的价格报价相对Veeco低了10%~30%不等,在价格上对客户有非常强的吸引力。
对于按照设备采购金额给予一定比例补贴的,中微的价格优势可能还不算特别明显。但是像三安这样按照54片2寸片MOCVD设备等效产能获得补贴的芯片厂,采购中微的机台可以减少相当大比例的自筹资金投入。也因此2017年中微的MOCVD出货超过100个腔,在中国市场取得远超过Veeco的成绩。
正是在这样强大的市场压力下,VEECO启动了石墨盘专利诉讼,而美国纽约东区的地方法院的一纸禁令使得Veeco成功实施了对中微的锁喉战略。这一轮Veeco赢。
令中微被“锁喉”的专利又是什么呢?上文的四项专利很容易搜索得到,其中最核心的就是由支撑柱的旋转带动托盘的旋转的动力提供方式。SGL在美国也提起无效诉讼,认为涉案的Veeco美国专利技术早在60年代开始就被大量前置专利公开,距今已有五十年的历史,因而, Veeco美国的涉案专利不符合专利法要求,应属无效专利。

图片来源:United States Patent,US6506252B2
三、 以牙还牙:中微反诉Veeco在中国获胜
针对Veeco的咄咄逼人,忍让和退缩是不可能的。既然Veeco采用了专利扼制的手段,中微便以牙还牙,以专利的手段去反制。中微于2017年7月13日向福建省高级人民法院正式起诉 Veeco上海专利侵权,申请对Veeco上海发布永久禁令,并赔偿中微经济损失1亿元人民币以上。
在2017年12月8日,中微宣布中国福建省高级人民法院同意了中微针对维易科精密仪器国际贸易(上海)有限公司(以下简称“Veeco上海”)的禁令申请,该禁令禁止Veeco上海进口、制造、向任何第三方销售或许诺销售侵犯中微第CN 202492576号专利的任何化学气相沉积装置和用于该等装置的基片托盘。该禁令涵盖TurboDisk EPIK 700、EPIK 700 C2 和EPIK 700 C4机型的MOCVD设备,以及在该等MOCVD设备中使用的基片托盘。
中微同时也认为Veeco EPIK 868机型MOCVD设备的旋转轴和基片托盘锁定同步装置也使用了中微涉案专利技术,因此该裁定也涵盖了Veeco的EPIK 868机型及在该设备中使用的基片托盘。
以牙还牙(tit for tat)的策略相当简单,那就是如果对手选择的策略是合作,就选择合作,如果对手选择的策略是对抗,那就选择对抗。对中微来说,Veeco选择专利诉讼对抗,那么就针锋相对的也选择诉讼对抗。这一轮中微赢。
四、结局预测:当然是选择原谅他
交代完背景,LEDinside开始尝试建立一个博弈论模型来分析中微和Veeco这场石墨盘之战的大戏。鉴于博弈论除了分析解释的功能之外,还有预测和找出解决方案的功能,接下来LEDinside会再根据分析结论提出一些预测和建议。
双方的诉讼打了一个平手,接下来可选择的策略是和解或者继续对抗,矩阵内的4组数字是博弈的支付(payoff),前一个数字是中微的,后一个数字是Veeco的(红色数字,下文红色均表示Veeco的payoff)。数字本身没有实际意义,代表的是假设的一种结果。

双方都选择和解,由于中微成本优势强,因此中微可能得到的潜在市场要大,因此其收益payoff(70)是大于Veeco的payoff(30)。
如果双方选择继续对抗,则会进入僵持的状态,都没办法做成新的设备生意(veeco认为EPIK868不受福建高院禁令影响,双方看法存在分析,为简化分析,我们假定中微宣称的EPIK868也不能在中国销售为真),而且客户的生产会受到影响,因此payoff都是-10。如果这是一个同时行动(simultaneous moves)博弈的话,这是一个没有均衡的博弈,双方都没有占优策略。
在现实中,因为彼此可以观察对手的做法再采取行动,这其实是一个序贯行动(sequential moves)博弈。再考虑到中微和Veeco都可以采取以牙还牙策略,我们可以把这个博弈重新描述:

中微先行动,payoff的第一个数字代表中微,第二个数字代表Veeco。如果中微选择对抗,Veeco不可能选择和解,因为这不符合Veeco的利益(中微payoff=100,Veecopayoff=0),因此这个博弈的枝线直接拿掉。
如果中微最先行动,选择了和解,然后Veeco却继续选择了对抗,中微必然重新选择对抗,因此payoff等同于双方都选择对抗的情形。在这样的情况下,我们会发现,对Veeco或者中微来讲,三种可能存在的payoff下,(和解,和解)是双方都能最大化收益的策略集。
这个博弈换做Veeco先行动,结果是一样的,最优解也是和解。
即使司法对抗让两家公司陷入了严重地方对立状态,但是从各自公司利益出发,当然是选择原谅他。
五、僵局模式:Veeco的困境,现在VS未来
然而现实中我们看到,截止目前,双方还是处在僵持(对抗)的状态,难道是我们的推理有误?还是博弈双方看不到这么简单的结果?亦或是博弈的参与者中有人非理性?
从LEDinside了解的情况来看,中微的和解意愿还是相当强烈,因为石墨盘断供是亟待解决的当务之急。即使是可以找到SGL的替代供应商,但是交货时间和供应数量上都远水难解近渴。主要是Veeco和解的意愿不强。这又是为什么呢,难道Veeco不够理性吗?
根据LEDinside的观察,Veeco绝对是商业策略方面的高手,不然也不至于10年来从蓝绿光MOCVD市场上相对弱势的一方,成长为一家独大的供应商。如果不是半路杀出个中微半导体这个程咬金,Veeco已经差不多快要垄断这个市场了。
那么问题出在哪里?我们的分析假定的payoff是近期和解之后的状态。然而,如果我们把思考的时间维度拉的更长,就会发现不一样的结局。
中微的兴起,不光是目前挑战了Veeco的利益,从长期的设备国产化趋势来看,中国是MOCVD最大的市场,中微的成本又具有绝对优势,如果和Veeco今天和解了,眼下是可以继续正常做生意,但是长期来说,还是会被中微完全挤出市场。所以长期的payoff可能是0,中微独占中国市场。
而坚持不和解,长期来看,中微还是可以找到替代的石墨盘供应商,Veeco的收益还是0,中微还是独占市场。所以和解还是对抗,长期来看对Veeco的payoff是一样的。

如果坚持不和解,至少短期内可以给中微制造巨大的压力。相比之下作为全球市场布局的Veeco,短期内损失一些中国市场的份额并不是非常严重的问题。
也就是说,目前的僵局Veeco实际上是在等中微拿出足够吸引力的筹码作为和解的交换条件。中微也是需要改变Veeco的payoff来打破这个僵局。
六、策略建议:退一步海阔天空
博弈论不仅仅是要解释问题,预测问题,还有一大功能就是提出建议,要如何打破这样的僵局呢?有一个办法,就是要让Veeco从长期来看,和解之后payoff也不会是0。例如下图,如果从长期来看,选择对抗的Veeco将会一无所获,但是选择和解的Veeco,还是可以在中国市场保有一席之地。

难度在于,这个策略行为要有很高的置信度,而不是中微的口头承诺不会在将来将Veeco赶尽杀绝。基于这一点,LEDinside提出三个中微可以采用的行动策略:
下策:付专利授权金。虽然问题是从专利纠纷开始的,但是本质上并不是专利问题,如果纠结在专利上面就是头痛医头脚痛医脚。MOCVD本来市场需求也有限,专利授权金即使给到一个相当高的比例,总金额也有限,对Veeco的吸引力也不大。而且还会给外界造成误解,会以为中微的核心专利还需要向Veeco取得授权。
中策:宣布永久涨价30%,并不得以其他服务的形式变相补偿客户。对MOCVD这样高附加值的设备来说,主要的成本是研发费用,一旦量产,边际成本相比售价其实很小,也因此只要卖一台的边际收益超过边际成本,中微都有多卖的冲动。
但是中微可能没有意识到,现在自己多卖的不仅是抢占了Veeco的市场,也实际上是把自己未来的生意都做了。在高度寡头垄断的市场上,厂商有很强的定价能力,短期收益最大化侵蚀了未来的收益并不是最理智的行为。
中微只要宣布涨价30%,对Veeco来说价格竞争的压力就会小很多,未来仍能保持一部分市场,MOCVD供给结构会恢复到双寡头合谋的状态。但是这个策略也有缺点,涨价一般是很难被客户接受的,而对Veeco来说,监督成本也很高,Veeco很难获知中微MOCVD真实的成交价格信息。
上策:中微推出大客户战略,公开承诺并明确指定有限的几个标的客户,同时还可以公开与这几家客户一一订立同盟关系。之所以是上策,因为这是最不会得罪既有客户的方式,而且向Veeco传递最明确的信号,主动让出一部分边缘市场给Veeco。
相对来说,也是Veeco监督成本最低的形式,因为一旦在中微的非指定大客户工厂发现了中微的机台,就知道了中微背弃承诺,从而重新采用针锋相对策略。
俾斯麦统一普鲁士却不吞并奥地利,晋文公遇楚军退避三舍,让步不是软弱,而是赢在格局,赢在人心。
优质商铺推荐:深圳市智翔光电科技有限公司
交易在这里一触即发,慧聪LED屏网超级商情。

慧聪LED屏网超级商情
版权声明:来源慧聪LED屏网的所有文字、图片和音视频资料,版权均属慧聪LED屏网所有,任何媒体、网站或个人如需转载务必注明"稿件来源:慧聪LED屏网",违者本网将依法追究责任。
免责声明:凡注明来源本网的所有作品,均为本网合法拥有版权或有权使用的作品,欢迎转载,注明出处。非本网作品均来自互联网,转载目的在于传递更多信息,并不代表本网赞同其观点和对其真实性负责。
+ 更多资讯热度榜
+ 更多慧聪原创
+ 更多技术文章
+ 更多政策法规