
慧聪LED屏网报道
经过近年的快速发展,LED照明产品已经较为普及。过去LED照明产品的推广通常都是打“节能”牌。在跨界整合的浪潮中,LED照明行业也在努力寻找借助跨界整合提高产品附加值的可能性。
其中,LED路灯频繁跨界整合,“LED路灯+”表现抢眼。例如,LED路灯+太阳能、LED路灯+物联网、LED路灯+充电桩等等。
甚至连黑科技圈,也看上了“LED路灯+”。
近日,美国Amazon Technologies公司获得一项美国发明专利授权,这项专利的内容详细揭示了他们的LED路灯+无人机技术方案。
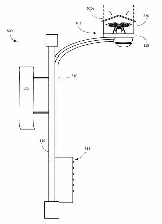
简单来说,就是在把LED路灯的头顶做成无人机的停机坪,这样无人机可以在城市的任何一条马路边上随时找到停机坪。

如果事情仅仅是这样,这件事就不够黑科技。
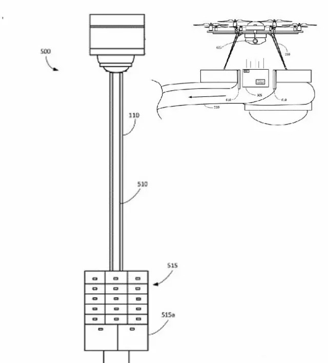
Amazon Technologies的整体解决方案里面,包含了卫星、通讯基站、服务器、LED路灯、无人机。原本平凡的LED路灯是跟太空中的卫星在一起工作,瞬间高大上了。

LED路灯+无人机后,有太空卫星作同事,LED路灯也对自己提出了更高的要求,具备了更多的技能。
能为无人机提供充电、更换电池服务。

能为无人机加燃料。

脚底还配置了一个快递鸟箱。以后你会收到无人机发的短信,告知你有一件快递在你家门口马路边上第N根LED路灯里。哈哈!
看到了吗?快递是从LED路灯灯杆空心的肚子里,在重力作用下,直接滑进鸟箱。

在恶劣天气,为无人机遮风挡雨。

讲了这么多,总算明白,难怪黑科技会看上“LED路灯+”,原来是为他们家无人机找了个贴心暖男。
LED行业的小伙伴们欢呼吧,为了我们万能的LED路灯!
优质商铺推荐:深圳市思科瑞光电有限公司
即刻获取新资讯,了解市场动态,欢迎关注慧聪LED屏资讯服务。

慧聪LED屏资讯服务
版权声明: 来 源慧聪LED屏网的所有文字、图片和音视频资料,版权均属慧聪LED屏网所有,任何媒体、网站或个人如需转载务必注明“稿件来源:慧聪LED屏网”,违者本网 将依法追究责任。
免责声明:凡注明来源本网的所有作品,均为本网合法拥有版权或有权使用的作品,欢迎转载,注明出处。非本网作品均来自互联网,转载目的在于传递更多信息,并不代表本网赞同其观点和对其真实性负责。
+ 更多资讯热度榜
+ 更多慧聪原创
+ 更多技术文章
+ 更多政策法规