慧聪LED屏网报道
美国专利局彷佛是苹果展现技术实力的宣传部门一样,这次揭露的新专利是在AppleWatch的表带,或是iPodLoop腕带中,加入显示元件,以编织的方式让腕带上可以显示时间等相关资讯。

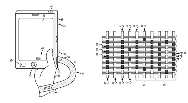
苹果编织显示技术:将光纤编入腕带 与LED连接
苹果的这项新专利,是将光纤编入腕带中,与纤维交织出固定的格点,并借此显示各种资讯。根据专利文件中的说明,苹果的编织显示技术,主要会运用在布质的腕带上,在编织出的布质腕带中,以固定的比例和图纹编入光纤材质,让腕带在编入光纤后还可以进行弯曲。

苹果编织显示技术:将光纤编入腕带 与LED连接
编入腕带中的光纤将会和设备上的发光点(例如LED)连接,让腕带上的光纤可以在固定的纹路中显示像是时间、日期、温度等等资讯。
除了编织显示技术外,苹果同样也申请了编织方式的专利,不过就目前AppleWatch的设计来看,就算运用在新表带上,因为接点设计的关系,可能也不会是在第一代的AppleWatch上使用,当然,如果苹果为此设计了一款表带接头的转接器我们也不需要意外就是了。
优质商铺推荐:深圳市华夏光彩显示技术有限公司
即刻获取新资讯,了解市场动态,欢迎关注慧聪LED屏资讯服务。

慧聪LED屏资讯服务
版权声明: 来 源慧聪LED屏网的所有文字、图片和音视频资料,版权均属慧聪LED屏网所有,任 何媒体、网站或个人如需转载务必注明“稿件来源:慧聪LED屏网”,违者本网 将依法追究责任。
免责声明:凡注明来源本网的所有作品,均为本网合法拥有版权或有权使用的作品,欢迎转载,注明出处。非本网作品均来自互联网,转载目的在于传递更多信息,并不代表本网赞同其观点和对其真实性负责。
+ 更多资讯热度榜
+ 更多慧聪原创
+ 更多技术文章
+ 更多政策法规