慧聪LED屏网报道
在琳琅满目的灯具市场,最近有一款LED灯真的很火,那就是在这寒冷的冬季也给人一种暖洋洋感觉的LED火焰灯(LEDflamelight)。长如下这样:


这款灯主要用于节日氛围烘托,可以用在家居、花园、餐厅、咖啡厅、酒吧、户外花园、咖啡店、别墅、婚礼、聚会、教堂、城堡等各种场所。
近段时间在中山古镇灯饰市场就很流行。而且在2017年圣诞前后,火焰特效灯泡还多次跻身跨境电商平台榜单前五,在亚马逊平台一度畅销,市场潜力也一直被人看好。
然而,想要着手进货、补充库存的卖家现在要注意了,最新消息,卖爆了的火焰灯已经被权利人警告了。
URGENT!WearetheLEDflamelightbulbscompany,originalinventorsandmanufacturesofflamebulbsbyMUMEDIAPHOTOELECRICLED.
Wehavespottedafakethatyouselland/orproduce.Weinformthatthe“flamelightbulbs”isregisteredintheUnitedStatesIntellectualPropertyOfficeunderthenumbers:PatentNO.isWO2016177021A1andPCTNO.isPCTCN2016071583.Weorderyoutoimmediatelytostopproducing,sellingandadvertisingyourfake.
Ifyouwillnotcooperatewewillprosecuteyourcompany.Wehavemorethanenoughevidencetoimmediatelywinacaseagainstyourcompany.
Prosecutionwillleadyoutorefundalltheprofityourcompanyhasachievedonsellingthefakeledflamebulbs,destroyingthefakeproductsandrefundingtheamountofdamagetothemarketthatthefakehasdone.Thisamountiscalculatedduringthecourttrial.
上面那一段话是权利人发给LED火焰灯卖家的警告信,不少亚马逊卖家小伙伴都收到了这样的邮件。大致意思就是,专利权人已经为LED火焰灯申请了专利,请立即停止侵犯其专利权,停止生产、销售和宣传侵权产品,否则将被起诉。
根据警告信中提供的专利号,查询后发现:

美国发明专利(火焰灯)US9689544B2
2016年4月4日在美国提出申请的,现在已经授权。

这款产品全称为:360度LED发光火焰灯。
申请号:PCTCN2016071583
申请日:2016.01.21
公开(公告)号:WO2016177021A1
公开(公告)日:2016.11.10
申请(专利权)人:MUMEDIAPHOTOELECTRICLTD[CN]
发明(设计)人:WEININGHUA[CN]
经查,该公司中文名为广州漫美帝灯光设备有限公司,是一家专业生产和销售LED灯、舞台灯光、音响设备等的厂家。
中文摘要显示为:

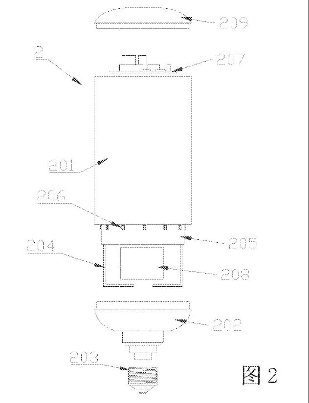
一种360度LED发光火焰灯,能模拟火焰晃动效果,包括一灯罩(1)和设于灯罩内的光源(2),光源包括一灯壳(201)及设于灯壳一端的底座(202),底座上设有灯头(203),灯壳内设有一灯板支架(204),在灯板支架的外表面包覆有一张柱形或多面体形的LED线路板(205),LED线路板上布设有LED灯珠(206),LED线路板与灯头之间依次电连接有按照一定时序输出PWM信号控制LED灯珠的亮灭和闪烁的控制电路板(207)和驱动控制电路板和LED线路板工作的驱动电源(208)。
火焰灯在灯罩外部侧向360度均形成火焰在各个方向跳跃的效果,靠光源本身的发光来形成火焰效果,以达到无噪音、降低功耗、并适用于室内外使用的目的。
火焰灯专利指定在100多个国家生效,美国的已经下证了,所以权利人可以随时投诉别人侵权。
刚刚在各大平台查询后发现,在售火焰灯的商家已很少。不过还是要提醒大家,没有专利授权的卖家还是谨慎为宜,不论是电商平台还是线下店铺,还是先下架产品,与对方沟通之后看情况再说吧!
自主之路道阻且长,专利已经会成为一个新的战场。近几年的跨境电商的发展过程中,越来越多的企业注重自有品牌的打造和维护,并进行知识产权的保护,成为权利人,有利于开辟国际市场,这是好事。
而对于卖家而言,一方面,部分企业贪图短期利润,实际售卖了侵权产品;另一方面,部分企业对侵权的知识产权和法律概念认识不到位。实际上,一旦中招,自己因侵权带来的收益远远不够给权利人赔偿的金额。不要得到的一个爆款,就放到平台销售,高高兴兴上架产品,两三天就收到店铺被封的小红旗,得不偿失。
“当前跨境电商主要面向欧美市场,偏偏是知识产权体制较为完善的地方,卖家面临的侵权风险会比较高。”卖家自身出海发财时候须要杜绝知识产权侵权行为,在销售之前,了解一下专利方面的基础知识,并进行专利查询,防范风险。
优质商铺推荐:深圳市明兴光电子科技有限公司
交易在这里一触即发,慧聪LED屏网超级商情。

慧聪LED屏网超级商情
版权声明:来源慧聪LED屏网的所有文字、图片和音视频资料,版权均属慧聪LED屏网所有,任何媒体、网站或个人如需转载务必注明"稿件来源:慧聪LED屏网",违者本网将依法追究责任。
免责声明:凡注明来源本网的所有作品,均为本网合法拥有版权或有权使用的作品,欢迎转载,注明出处。非本网作品均来自互联网,转载目的在于传递更多信息,并不代表本网赞同其观点和对其真实性负责。